اختراع جدید اپل مشکل باتری آیفون را حل خواهد کرد
اپل بهتازگی اختراع جدیدی را در زمینه باتری آیفون ها به ثبت رسانده که با استفاده از اتصالات و زبانههایی در زوایای مختلف سعی در افزایش ظرفیت و شارژدهی این گوشی دارد.
به گزارش اقتصادآنلاین به نقل از گجت نیوز، اپل بهتازگی یک اختراع تازه در زمینه باتری آیفون های خود به ثبت رسانده و قصد دارد با سرمایهگذاری بیشتر روی آن بدون نیاز به افزایش اندازه باتری، ظرفیت آن را ارتقا داده و شارژدهی بهتری را برای نسلهای آینده آیفونهایش به ارمغان بیاورد. این اختراع «سلولهای باتری دارای زبانههای در زوایای مناسب» نام داشته و برای نخستین بار در ماه سپتامبر ۲۰۲۱ به ثبت رسیده است. با این وجود انتشار رسمی این اختراع ثبت شده اپل روز گذشته اتفاق افتاد تا مشخص شود کوپرتینوییها با جدیت دنبال ارتقای شارژدهی باتری آیفونهایشان هستند.

اپل اختراع جدیدی را در زمینه باتری آیفون هایش ثبت کرده است؟
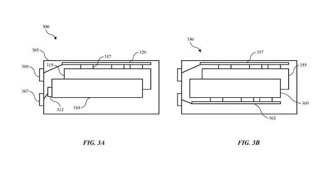
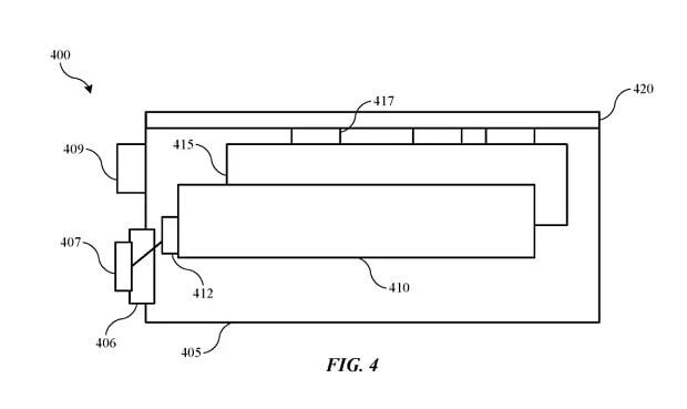
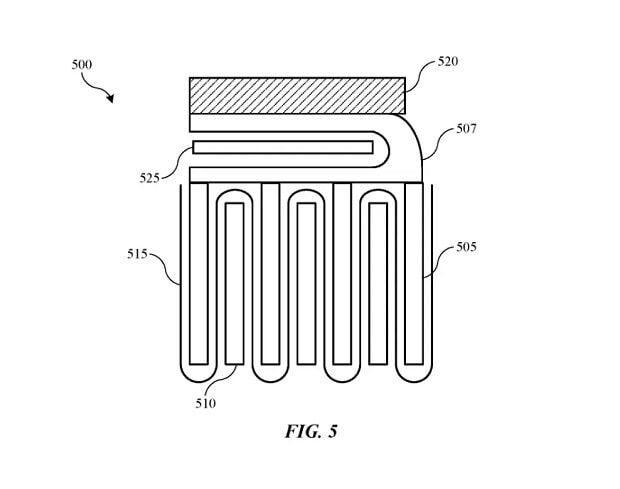
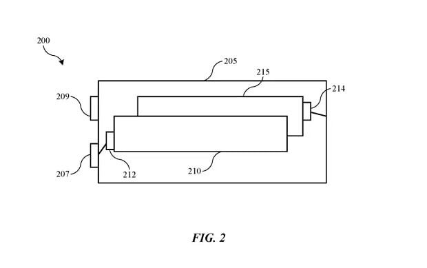
بر اساس اطلاعاتی که از اسناد مرتبط با ثبت اختراع جدید اپل به دست آمده، کوپرتینوییها دنبال روشهایی برای بهبود انقلابی باتری گوشیهای آیفون هستند. این کمپانی موارد مختلفی مثل جداکنندههای باتری، جداکنندههای خمیده، طراحی ماژولار باتری را امتحان کرده تا بتواند شارژدهی بهتری را فراتر از استانداردهای کنونی برای آیفون رقم بزند. هدف اپل از انجام این دسته آزمایشات نه فقط افزایش ظرفیت باتری، بلکه بهینهسازی عملکرد آن است.

یکی از نکات کلیدی در خصوص اختراع ثبت شده اپل، تغییر موقعیت اجزای مختلف باتری به منظور دستیابی به عمر بهینه است. این استفاده خلاقانه از هندسه علاوه بر این که باعث میشود ظرفیت باتری آیفون افزایش پیدا کند، با بهره بردن از اتصالات در زوایا و گوشههای مختلف امکان بهره بردن از فضاهای خالی زیر قاب گوشی را فراهم میکند. اپل قصد دارد با استفاده از اتصالاتی که به زبانههای در جهات مختلف وصل هستند بهینهترین استفاده را از فضا برده و طراحی یکپارچهای را برای باتری نسل بعدی آیفون رقم بزند.

مجموعه اختراع های کنونی اپل البته نباید ما را از دستاوردهای فعلی این کمپانی در حوزه باتری گوشیهای هوشمند غافل کند. طی چند سال اخیر کمپانی کوپرتینویی موفق شده از طریق بهینهسازی فوقالعاده سیستم عامل iOS، علیرغم استفاده از باتریهای با ظرفیت بسیار کمتر از رقبا شارژدهی باتری بهتری را در مقایسه با آنها ارائه دهد. این کمپانی مدتهاست که به دنبال دستیابی به فناوریهای نوینی در زمینه طراحی باتری است که هم ظرفیت بالاتری داشته باشند و هم ضمن ارائه شارژدهی بیشتر، بادوامتر از نسلهای قبلی باتریهای به کار رفته در آیفونها باشند. نتیجه این تلاشها بدون شک در آیفونهای آینده نمایان خواهد شد؛ دستگاههایی که بیشترین نسبت توان به اندازه باتری را ارائه کرده و شارژدهی فوقالعادهای را ارائه خواهند داد.

جمعبندی
اختراع جدید اپل در زمینه باتری آیفون هایش «سلولهای باتری دارای زبانههایی در زوایای مختلف» نامگذاری شده و در آن تلاش شده که با استفاده از زبانههایی که با اتصالات به یکدیگر متصل میشوند، باتریهایی با ظرفیت بیشتر و شارژدهی بالاتر برای نسل های بعدی آیفون طراحی شود. از این طریق آیفونهای آینده اپل قادر خواهند بود در جدال نفسگیر دستیابی به شارژدهی بالاتر رقبای متعدد خود را کنار زده و دست بالاتر را در این زمینه در اختیار داشته باشند.
البته بعید به نظر میرسد این طراحیها در آینده نزدیک به تولید محصول منجر شوند. با این وجود انتشار گزارشهای مربوط به اختراعات در زمینه باتری بهخوبی گویای تلاش اپل برای ساخت باتریهایی باکیفیتتر در آیفونهاست.






